Product Summary
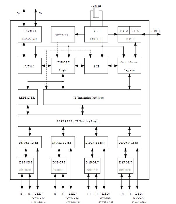
The GL850G is an advanced version for Hub solutions which fully complies with Universal Serial Bus Specification Revision 2.0. To fully meet the cost/performance requirement, GL850G is a single TT hub solution for the cost requirement. Genesys Logic also provides GL850G for multiple TT hub solution to target on systems which require higher performance for full/low-speed devices, like docking station, embedded system … etc.
Parametrics
GL850G absolute maximum ratings: (1)5V Power Supply: -0.5+6.0V; (2)3.3V Power Supply: -0.5+3.6V; (3)Input Voltage for digital I/O pins: -0.5+3.6V; (4)Open-drain input pins(Ovcur1~4#,Pself,Reset): -0.5+5.5V; (5)Input Voltage for USB signal (DP, DM) pins: -0.5+3.6V; (6)Storage Temperature under bias: -55+100℃; (7)Frequency: 12 MHz ± 0.05%
Features
GL850G features: (1)Compliant to USB specification Revision 2.0; (2)On-chip 8-bit micro-processor; (3)Single Transaction Translator (STT); (4)Integrate USB 2.0 transceiver; (5)Built-in upstream 1.5K pull-up and downstream 15K pull-down; (6)Embed serial resister for USB signals; (7)Conform to bus power requirements; (8)Automatic switching between self-powered and bus-powered modes.
Diagrams

| Image | Part No | Mfg | Description | ![]() |
Pricing (USD) |
Quantity | ||||
|---|---|---|---|---|---|---|---|---|---|---|
![]() |
![]() GL850G |
![]() Other |
![]() |
![]() Data Sheet |
![]() Negotiable |
|
||||
| Image | Part No | Mfg | Description | ![]() |
Pricing (USD) |
Quantity | ||||
![]() |
![]() GL850 |
![]() Other |
![]() |
![]() Data Sheet |
![]() Negotiable |
|
||||
![]() |
![]() GL850A |
![]() Other |
![]() |
![]() Data Sheet |
![]() Negotiable |
|
||||
![]() |
![]() GL850G |
![]() Other |
![]() |
![]() Data Sheet |
![]() Negotiable |
|
||||
![]() |
![]() GL852 |
![]() Other |
![]() |
![]() Data Sheet |
![]() Negotiable |
|
||||
(Hong Kong)









